常见检测标准
ASTM D4169(医疗医药)
GB/T 14710(医械环境)
GB/T 4857(基本试验)
ISTA 3E(集合包装)
ISTA 6A(电商专用)
ISTA 3A(单包裹件)
ISTA 2A(卖方标准件)
其它检测标准
常见测试项目
加速老化试验
振动/震动测试
跌落/摔箱测试
环境可靠性试验
斜面/角冲击实验
高海波低气压试验
抗压(堆码)测试
夹持(夹抱)测试
包装材料 包材检测
其他(项目)测试
行业应用
电商-行业
医械及医药
国防装备专用
家具及家居用品
汽车配件/新能源
家电及电子消费品
其它行业应用
座机:400-181-0026
电话:0512-88830151
手机:18018198853
邮件:fggyjc07@yeah.net
网站:http://www.fts-lab.com
地址:苏州市吴中经济开发区南官渡路9号5#-3
GB/T4996托盘气囊抗弯试验
GB/T 4996 托盘气囊抗弯试验要点
一 适用范围与目的
适用对象:采用气囊加载模拟均匀柔性载荷(如箱装、袋装货物)的各类平托盘。
试验项目:包含7a 抗弯强度与7b 抗弯刚度两项,分别评价在柔性均布载荷下的极限承载与在规定载荷下的变形控制能力。
配套标准:性能等级与试验载荷水平按GB/T 4995-2014《平托盘 性能要求与试验选择》选取与判定。
本试验旨在模拟实际场景中托盘承受均匀柔性载荷的情况。在本试验中,加载头被用来模拟这种均匀柔性载荷,例如箱装货物或袋装货物等。
二 试验步骤与关键参数
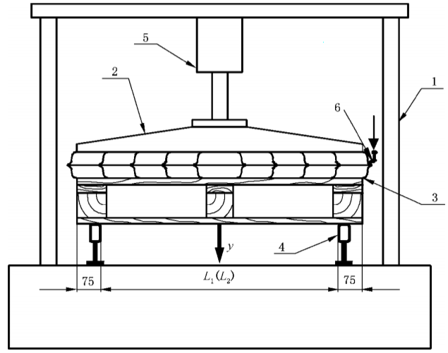
⑴方向选择:分别在托盘长度与宽度方向各测一次挠度,取挠度较大者为支撑刚度低的方向;若两方向挠度差小于较大者的15%,可仅在该方向继续试验。
⑵支座布置:支座内边缘(或中心线)距托盘外缘75 mm;试验台面应水平、刚性,避免台面变形影响挠度测量。
⑶气囊选型与尺寸:加载头为低压/中压封闭气囊(提升袋/填充袋)。气囊长宽应比托盘顶铺板长宽各大约150 mm,充气后应能与整个铺板接触;若气囊侧面伸出托盘各边或端面>75 mm,应增设支撑梁以保持气囊悬伸部分与铺板上表面平齐。
⑷气囊压力与升程:气囊工作压力应足以破坏所有待试托盘,经验值不低于0.07–0.08 MPa;气囊中部与边缘膨胀量不一致时,应按膨胀量最小的区域选择气囊。为避免气囊自身刚度影响数据,气囊膨胀量应至少为导致托盘损坏所需膨胀量的2倍。
⑷加载控制:充气或加载过程需控制加载量或试验速度,确保过程稳定、可复现。
三 试验步骤
7a 抗弯强度
ⅰ在气囊上逐步施加载荷(充气或加载),直至托盘任一构件破裂或出现过度挠曲/变形;
ⅱ记录该工况下的极限载荷值(单位:N 或 kN),作为托盘承受均匀柔性载荷的抗弯强度。
7b 抗弯刚度
ⅰ以7a测得的极限载荷的(1.5±0.5)%作为基准载荷;
ⅱ按GB/T 4995 表1确定满载;
ⅲ在支座位置对应的A1、A2、A3(或B1、B2、B3)测点测量挠度 y,并在以下四个时刻记录最大值:
a)加到基准载荷时;b)加到满载时;c)满载结束时;d)卸载结束时;
ⅳ刚度合格性按GB/T 4995 表1的性能极限判定。
四 结果判定。
判定依据:
●强度:试验中不得出现构件破裂或过度变形;以极限载荷表征能力;
●刚度:在规定载荷与四个测量时刻的挠度应满足GB/T 4995对应限值。
建议包含:托盘规格型号、试验方向与支座位置示意、气囊型号/尺寸/工作压力/升程、基准载荷与满载、各测点挠度-时间历程、极限载荷、刚度判定结果、试验环境条件与设备信息、试验日期与人员等,以便复现与追溯。
重要性与分析结论GB/T4996气囊抗弯试验通过模拟托盘在承受均匀柔性载荷时的表现,评估其在实际使用中的性能表现。通过对挠度值的测量和分析,可以确定托盘支撑刚度较低的方向,进一步指导优化设计。此外,试验中使用的气囊技术指标如尺寸、内压和升程等,都是确保试验准确性的关键因素。通过这些步骤和指标,可以系统地评估托盘的抗弯强度,确保其在不同载荷条件下的可靠性和安全性。
本文上部配图说明:18018198853.
1、富港检测站内图片为富港包装实验室实地拍摄(本图有版权,请勿盗图)!
2、一组包装测试程序由多个试验项目组成,因空间有限,本文上部配图仅列举其中一个测试设备或一个场景图片作为代表供您了解使用,请见谅,如需更多信息,请与我司包装测试顾问联系!感谢您的来访与支持!
转载请注明出处:富港检测www.fts-lab.com(托盘检测标准)
包装厂模拟运输验证案例
ASTM D4169-23
冷包装时效性验证
GB/T 11287
GB/T 36911-20
ISO 8318:2000
JIS Z 0232:20
滚动试验